Manicotti distanziatori e dischi distanziatori – Materiali e forme
I manicotti distanziatori e i dischi distanziatori sono elementi importanti per l’unione e la progettazione di soluzioni ingegneristiche. Svolgono diverse attività: Sono distanziatori, distribuiscono le forze incidenti, fissano i componenti e sono necessari per regolazioni di precisione. Oltre alle classiche rondelle di metallo, questo articolo tratta anche altre forme speciali e opzioni di configurazione, come le piastre rotonde.
Manicotti distanziatori e dischi distanziatori
I manicotti e i dischi distanziatori, chiamati anche boccole distanziatrici, fungono principalmente da distanziatori in relazione a una posizione specificata. Solitamente i manicotti distanziatori e i dischi distanziatori sono fissati con una vite inserita attraverso il diametro interno del manicotto o del disco. Di solito non sono punzonati, come è altrimenti comune per le rondelle di metallo (trova qui maggiori informazioni), ma sono invece formati a rullo e hanno una lunghezza precisa. La tolleranza sulla lunghezza (anche classe di precisione) è fino a ± 0,01 mm. Grazie alla loro alta precisione alcuni possono essere utilizzati anche come cuscinetto per i cuscinetti volventi.
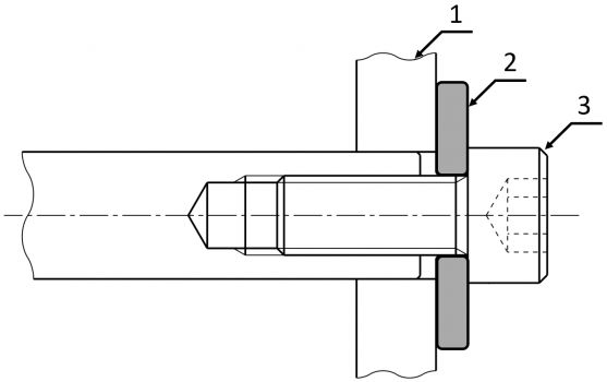
Un esempio di applicazione per manicotti distanziatori è il loro utilizzo in un albero:
Un manicotto distanziatore o disco distanziatore può essere usato anche come piastra elastica, per esempio per fungere da supporto o arresto per una molla a compressione.
Per ulteriori informazioni sui diversi tipi di attacco dell’albero e sulle estremità dell’albero leggere anche il nostro articolo “Alberi lineari: Estremità dell’albero e opzioni di montaggio degli alberi lineari”.
Piastre rotonde
Le piastre rotonde sono dischi metallici rotondi con fori più spessi delle rondelle o dei dischi distanziatori e con un diametro maggiore. Vengono utilizzati, ad esempio, come rondelle terminali nelle guide dell’albero per il fissaggio o il bloccaggio. A tal fine si consiglia di utilizzarli in applicazioni che richiedono precisione di posizionamento e sicurezza elevate. Come rondelle terminali dell’albero le piastre rotonde svolgono anche il compito di proteggere dai danni meccanici e prevenire l’ingresso di sporco o polvere. Le piastre rotonde sono particolarmente adatte in applicazioni con carichi elevati o in cui le superfici dei componenti sono particolarmente sensibili. Distribuiscono inoltre le forze su una superficie più ampia.
L’importanza delle parti standardizzate
Le parti standardizzate, come i dischi standardizzati, sono elementi standardizzati che svolgono un ruolo importante nell’ingegneria di produzione e progettazione. La standardizzazione garantisce in modo uniforme alta qualità e compatibilità (trova maggiori informazioni qui). Le parti standardizzate semplificano l’assemblaggio e la sostituzione delle parti standardizzate. Ad esempio, vari standard si applicano ai dischi distanziatori:
- DIN 125 / ISO 7089: Rondelle standardizzate per applicazioni generiche utilizzate come rondelle per connessioni filettate.
- DIN 988: Spessori con spessore definito per requisiti di spaziatura precisi. Vengono utilizzati, ad esempio, tra gli anelli di arresto e le rondelle di bloccaggio per compensare il gioco quando si fissano i componenti assialmente.
- DIN 7349: Rondelle rinforzate per viti con carichi più elevati. Forniscono un’area di contatto più ampia e aumentano la resistenza a forze e coppie elevate.
Opzioni di configurazione
Le parti standardizzate sono sufficienti per molte applicazioni. Ciononostante spesso raggiungono i loro limiti quando i requisiti sono elevati: in questo caso è necessaria una soluzione specializzata. I componenti personalizzati consentono soluzioni a sfide specifiche. MISUMI offre diverse opzioni di configurazione per dischi distanziatori e manicotti distanziatori. Alcune delle varianti più importanti e le loro caratteristiche sono descritte di seguito.
Selezione del materiale per dischi distanziatori e manicotti distanziatori
MISUMI dispone di dischi e manicotti temprati e non temprati. La durezza influisce sull’usura: più duro è il materiale, più resistenti saranno i manicotti e le rondelle alla deformazione e all’usura. La scelta del materiale ha anche un’influenza: i manicotti distanziatori in acciaio inox e i dischi distanziatori in acciaio inossidabile sono adatti per ambienti corrosivi. MISUMI può configurare anche dischi distanziatori e manicotti distanziatori in plastica, ceramica, gomma, feltro o materiali per l’isolamento termico per condizioni ambientali speciali. L’uso di gomma e feltro è vantaggioso, per esempio, per applicazioni che richiedono l’assorbimento delle vibrazioni o proprietà antistatiche.
Manicotti distanziatori con forme speciali
I manicotti distanziatori sono componenti cilindrici. Vengono utilizzati per creare una certa distanza tra due componenti. Le forme speciali possono includere:
- Conici/Cilindrici -I manicotti distanziatori cilindrici sono di forma standard e sono adatti per la maggior parte delle applicazioni industriali. I manicotti distanziatori cilindrici hanno una forma conica.
- Filettatura interna ed esterna I manicotti distanziatori con filettatura interna fungono da dado per facilitare i collegamenti filettati. È possibile evitare l’uso di ulteriori dadi e viti.
- Rondella per forme speciali - Adatta per il fissaggio dell’albero sull’estremità dell’albero.
- Manicotto distanziatore con flangia - Le flange forniscono una superficie di contatto più ampia e possono fungere da arresto.
MISUMI consente di configurare il manicotto con collare a forma di flangia. L’altezza del collare è specificata con le tolleranze e può essere utilizzata per requisiti di distanza precisi.
Spessori configurabili
MISUMI fornisce gli spessori in acciaio, acciaio inox, acciaio per molle e ottone. Gli intervalli di precisione disponibili variano da ± 0,11 a ± 0,003 mm, il che consente di regolare i componenti in modo molto preciso. Ulteriori informazioni sulle classi di tolleranza secondo ISO 22081 e DIN ISO 2768 sono disponibili nel nostro blog. I diametri interni sono da 2 a 130 mm e i diametri esterni da 3 a 160 mm. MISUMI fornisce spessori standardizzati in varie forme e progettazioni, spessori standardizzati secondo DIN 988 e spessori configurabili. Le rondelle di spessore configurate sono disponibili nel negozio MISUMI, ad esempio utilizzando il termine di ricerca #CIMA.
Dischi metallici per classe di precisione
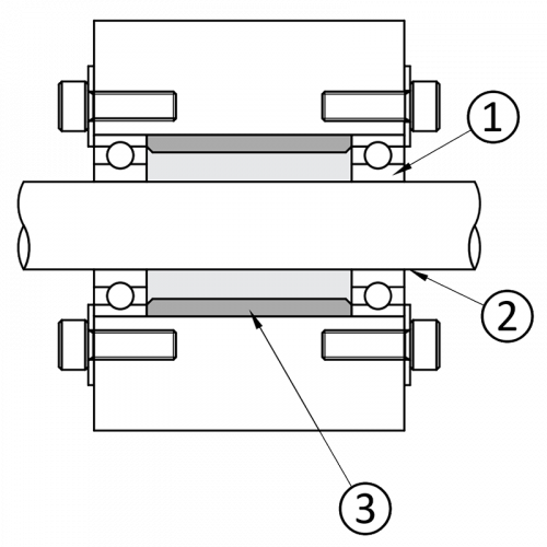
MISUMI consente di configurare i dischi distanziatori e i manicotti distanziatori in base alle proprie specifiche. La distanza tra due componenti può essere regolata in modo molto preciso con manicotti distanziatori realizzati con precisione. Se sono necessari più manicotti, sono disponibili anche distanziali a rettifica simultanea della stessa lunghezza, almeno come un set di due. Ciò consente di formare una superficie piana, riducendo il gioco grazie a una differenza di altezza inferiore a ± 5 μ.
Le figure seguenti mostrano la differenza tra la versione standard e quella di precisione dei dischi distanziatori e dei manicotti distanziatori MISUMI:
Puoi trovare dischi metallici configurabili dall’utente nel negozio online, ad esempio utilizzando il termine di ricerca #FWS.
Panoramica dei dischi e dei manicotti nel negozio MISUMI
MISUMI offre una vasta gamma di dischi e manicotti in metallo. La tabella seguente fornisce una panoramica delle varianti e delle opzioni di configurazione:
| Forma | Nota | Esempio | Gamma | Tolleranza | Tolleranza | Tipo | ||
|---|---|---|---|---|---|---|---|---|
| Disco | Disco in metallo |
- Dimensione T selezionabile - Dimensioni selezionabili in base a T |
![]() |
Spessore T da 1 a 10 mm |
Classe standard | Dimensione T: ±0.1 mm | Dimensione V: 0.3 mm/0.1 mm Dimensione D: 0/-0.2 mm |
WSSB, WSSM, WSSS |
| - Dimensione T configurabile (in incrementi di 0.5 mm) - Dimensioni configurabili |
TWSSB, TWSSM, TWSSS | |||||||
| Dimensioni configurabili | FWS, FWSSC, FWSSB, FWSSM, FWSSR, FWSSA, FWSSAB, FWSBB, FWSSS, FWSSSR, FWSUS | |||||||
| Disco in metallo tolleranza selezionabile |
Dimensioni configurabili Tolleranza delle dimensioni D e V selezionabile |
![]() |
Spessore T da 1 a 10 mm |
Classe standard | Dimensione T: ±0.1 mm | Dimensione V selezionabile: Tolleranza (H): H7 Tolleranza (N): 0.3 mm/0.1 mm Tolleranza (X): (0.2 mm/0) Dimensione D selezionabile: Tolleranza (G): g6 Tolleranza (H): h7 Tolleranza (N): -0.1 mm/-0.3 Tolleranza (X): 0 mm/-0.2 |
SWSC, SWSB, SWSM, SWSS | |
| Classe di precisione | Dimensione T: ±0.01 mm | SWMC, SWMB, SWMM, SWMS | ||||||
| Disco in metallo | - Dimensione T selezionabile - Dimensioni selezionabili in base a T |
![]() |
Spessore T da 1 a 10 mm |
Classe di precisione | Dimensione T: ±0.01 mm | Dimensione V: 0.3 mm/0.1 mm Dimensione D: 0/-0.2 mm |
WASB, WASM, WASS | |
| - Dimensione T configurabile (in incrementi di 0.5 mm) - Dimensioni configurabili |
TWASB, TWASM, TWASS | |||||||
| Dimensioni configurabili | FWAS, FWASC, FWASB, FWASM, FWASR, FWASA, FWASS, FWASSR, FWASU | |||||||
| Disco in metallo versione temprata |
- Dimensione T selezionabile - Dimensioni selezionabili in base a T |
![]() |
Spessore T da 1 a 10 mm |
Classe standard | Dimensione T: ±0.1 mm | Dimensione V: 0.3 mm/0.1 mm Dimensione D: 0/-0.2 mm |
WSSBH, WSSMH, WSSSH | |
| - Dimensione T configurabile (in incrementi di 0.1 mm) - Dimensioni configurabili |
FWSSCH, FWSSBH, FWSSMH, FWSSK, FWSSKB, FWSSKM, FWSSSH, FWSSSHR | |||||||
| - Dimensione T selezionabile - Dimensioni selezionabili in base a T |
Classe di precisione | Dimensione T: ±0.01 mm | WASBH, WASMH, WASSH | |||||
| - Dimensione T configurabile (in incrementi di 0.1 mm) - Dimensioni configurabili |
FWASCH, FWASBH, FWASMH, FWASK, FWASKB, FWASKM, FWASSH | |||||||
| Disco in metallo tolleranza selezionabile |
- Dimensione T configurabile (in incrementi di 0.1 mm) - Dimensioni configurabili |
![]() |
Spessore T da 1 a 10 mm |
Classe standard | Tolleranza selezionabile: Tolleranza (B) = dimensione T: -0.1 mm/-0.3 mm Tolleranza (C) = dimensione T: 0.3 mm/0.1 mm Tolleranza (D) = dimensione T: 0/-0.2 mm Tolleranza (E) = dimensione T: 0.2 mm/0 |
Dimensione V: 0.3 mm/0.1 mm Dimensione D: 0/-0.2 mm |
AWSC, AWSB, AWSM, AWSS, AWSH | |
| - Dimensione T configurabile (in incrementi di 0.1 mm) - Dimensioni configurabili |
Classe di precisione | Tolleranza selezionabile: Tolleranza (SB) = dimensione T: -0.01 mm/-0.03 mm Tolleranza (SC) = dimensione T: 0.03 mm/0.01 mm Tolleranza (SD) = dimensione T: 0/-0.02 mm Tolleranza (SE) = dimensione T: 0.02 mm/0 |
||||||
| - Dimensione T configurabile (in incrementi di 0.1 mm) - Dimensioni configurabili |
Classe di precisione alta | Tolleranza (A) = dimensione T: ±0.005 mm | ||||||
| Disco in metallo con flangia |
- Dimensione L configurabile (in incrementi di 0.1 mm) - Dimensioni configurabili |
![]() |
Dimensioni L da 2 a 10 mm |
Classe standard | Dimensione L: 0/-0.3 mm | Dimensione T: ±0.1 mm Dimensione H: 0/-0.2 mm Dimensione V: 0.3 mm/0.1 mm Dimensione D: 0/-0.2 mm |
FTCSS, FTCC, FTCB, FTCM, FTCSK, FTCSKB, FTCSKM, FTCS | |
| Classe di precisione | Dimensione L: ±0.01 mm | FTCMC, FTCMB, FTCMM, FTCMS | ||||||
| Con svasatura del cilindro | - Dimensione T selezionabile - Dimensioni selezionabili in base a T |
![]() |
Spessore T da 6 a 20 mm |
Classe standard | Dimensione T: ±0.1 mm | Dimensione H: ±0.1 mm Dimensione V: 0.3 mm/0.1 mm Dimensione D: 0/-0.2 mm Dimensione P: 0.3 mm/0.1 mm |
WZAB, WZAM, WZAS, WZABH, WZAMH, WZASH | |
| - Dimensione T configurabile (in incrementi di 0.5 mm) Dimensioni selezionabili in base a T |
Spessore T da 3 a 20 mm |
TWZAB, TWZAM, TWZAS | ||||||
| - Dimensione T configurabile (in incrementi di 0.5 mm) - Dimensioni configurabili |
Spessore T da 3 a 50 mm |
FWZASS, FWZAC, FWZAB, FWZAM, FWZAA, FWZAAB, FWZAS, FWZACH, FWZABH, FWZAMH, FWZASK, FWZASKB, FWZASKM, FWZASH | ||||||
| Con svasatura del cilindro | - Dimensione T configurabile (in incrementi di 0.5 mm) Dimensioni selezionabili in base a T |
![]() |
Spessore T da 3 a 20 mm |
Classe di precisione | Dimensione T: ±0.01 mm | Dimensione T: ±0.01 mm Dimensione H: ±0.1 mm Dimensione V: 0.3 mm/0.1 mm Dimensione D: 0/-0.2 mm Dimensione P: 0.3 mm/0.1 mm |
TWZSB, TWZSM, TWZSS | |
| - Dimensione T configurabile (in incrementi di 0.1 mm) - Dimensioni configurabili |
Spessore T da 3 a 50 mm |
FWZSC, FWZSB, FWZSM, FWZSS | ||||||
| Con filettatura esterna | - Dimensione T selezionabile - Dimensioni selezionabili in base a T |
![]() |
Spessore T da 3 a 20 mm |
Classe standard | Dimensione T: ±0.1 mm | Dimensione D: 0/-0.2 mm | WTAB, WTAM, WTAS | |
| - Dimensione T configurabile (in incrementi di 0.5 mm) - Dimensioni selezionabili in base a T |
TWTAB, TWTAM, TWTAS | |||||||
| - Dimensione T configurabile (in incrementi di 0.5 mm) - Dimensioni D configurabili tra 6 e 100 mm - Selezionabile da M2 a M30 |
Spessore T da 3 a 50 mm |
FWTAC, FWTAB, FWTAM, FWTAA, FWTAAB, FWTAS | ||||||
| lamatura/testa della vite incassata |
- Dimensione T selezionabile - Dimensioni selezionabili in base a T |
![]() |
Spessore T da 2.5 a 8 mm |
Classe standard | Dimensione T: ±0.1 mm | Dimensione E: ±0.1 Dimensione V: 0.3 mm/0.1 mm Dimensione D: 0/-0.2 mm |
WSRB, WSRM, WSRS | |
| - Dimensione T configurabile (in incrementi di 0.5 mm) - Dimensioni configurabili |
Spessore T da 2 a 10 mm |
FWSRC, FWSRB, FWSRM, FWSRA, FWSRS | ||||||
| Con fori per le viti | - Dimensione T configurabile (in incrementi di 1 mm) - Dimensioni configurabili |
![]() |
Spessore T da 1 a 10 mm |
Classe standard | Dimensione T: ±0.1 mm | Dimensione V: 0.3 mm/0.1 mm Dimensione D: 0/-0.2 mm |
WBAC, WBAB, WBAM, WBAA, WBAS | |
| Forma liberamente selezionabile | - Dimensione T configurabile (in incrementi di 0.1 mm) - Dimensioni configurabili |
![]() |
Spessore T da 3 a 10 mm |
Classe standard | Dimensione T: ±0.1 mm | Misura V: dipendente dalla forma Dimensione D: dipendente dalla forma |
KWSC, KWSB, KWSM, KWSS | |
| Manicotto | Manicotto per tubo (con saldatura sul diametro interno) |
- Dimensione L configurabile (in incrementi di 0.5 mm) - Dimensioni selezionabili in base a L |
![]() |
Dimensioni L da 6 a 200 mm in incrementi di 0.5 mm |
Classe standard (La classe di precisione è possibile come opzione per la dimensione L) |
Dimensione L: ±0.2 mm Modifica della tolleranza da ±0.2 mm a ±0.05 mm possibile con (LKC) |
Dimensione D: Tolleranza non specificata Dimensione d: Tolleranza non specificata +H10 |
SGP, SGPBB, STPG, STPGB, STPGH, STPGHB |
| Manicotto distanziatore (acciaio laminato) |
- Dimensione L selezionabile - Dimensioni selezionabili in base a L |
![]() |
Dimensioni L da 3 a 30 mm |
- | Dimensione L: ±0.05 mm (per 3, 4, 5, 8, 10 mm) Dimensione L: ±0.1 mm (per 12, 15, 20 mm) Dimensione L: ±0.15 mm (per 30 mm) |
Dimensione D: Tolleranza non specificata Dimensione d: Tolleranza non specificata |
SMKB | |
| Distanziali a rettifica simultanea (almeno 2 pezzi) |
- Dimensione L configurabile (in incrementi di 0.1 mm) - Dimensioni configurabili in base a L |
![]() |
Dimensioni L da 1 a 100 mm in incrementi di 0.1 mm |
- | Dimensione L: ±0.05 mm Lavorazione meccanica in un unico processo di bloccaggio Dimensione L tolleranza: ±0.05 mm per processo di bloccaggio |
Dimensione V: 0.3 mm/0.1 mm Dimensione D: 0/-0.2 mm |
DWSSB, DWSSM, DWSSS, DWSSKB, DWSSKM | |
| Con collare/a gradini | - Dimensione L configurabile (in incrementi di 0.1 mm) - Dimensioni configurabili in base a L |
![]() |
Dimensione - L da 1 a 50 mm in incrementi di 0.1 mm Dimensione - T da 1 a 20 mm in incrementi di 0.1 mm |
- | Dimensione L: 0/-0.1 mm Dimensione T: ±0.05 mm |
Dimensione H: 0/-0.2 mm Misura V: H7 Dimensione D: h7 |
DCLB, DCLM, DCLS | |
| Dimensione L:+0.1 mm/0 Dimensione T: ±0.05 mm |
Dimensione H: 0/-0.2 mm Misura V: H7 Dimensione D: h7 |
MCLB, MCLM, MCLS | ||||||
| Con collare/a gradini Dimensione T standardizzata |
- Dimensione L configurabile (in incrementi di 0.1 mm) - Dimensioni D e V selezionabili in base a L |
![]() |
Dimensioni L da 10 a 100 mm in incrementi di 0.1 mm |
Classe standard | Dimensione L: 0/-0.3 mm Dimensione T: 5 mm ±0.1 mm |
Dimensione H: 0/-0.2 mm Dimensione V: 0.3 mm/0.1 mm Dimensione D: 0/-0.2 mm |
TCLB, TCLM, TCLA, TCLSS, FTCLS | |
| Con collare/a gradini | - Dimensione L configurabile (in incrementi di 0.1 mm) - Dimensioni configurabili in base a L |
![]() |
Dimensioni L da 10 a 100 mm in incrementi di 0.1 mm |
Classe standard | Dimensione L: 0/-0.3 mm Dimensione T: ±0.1 mm |
Dimensione H: 0/-0.2 mm Dimensione V: 0.3 mm/0.1 mm Dimensione D: 0/-0.2 mm |
FTCLC, FTCLB, FTCLM, FTCLBB, FTCLA, FTCLAB, FTCLSS, FTCLCH, FTCLBH, FTCLMH, FTCLSK, FTCLSH | |
| Classe di precisione | Dimensione L: ±0.01 mm Dimensione T: ±0.01 mm |
Dimensione H: 0/-0.2 mm Dimensione V: 0.3 mm/0.1 mm Dimensione D: 0/-0.2 mm |
FTCLMC, FTCLMB, FTCLMM, FTCMSH | |||||
| Manicotto in metallo a parete sottile | - Dimensione L configurabile (in incrementi di 0.5 mm) - Dimensioni V e T selezionabili |
![]() |
Dimensioni L da 3 a 20 mm in incrementi di 0.5 mm |
- | Dimensione L: ±0.05 mm (da 3.0 a 10.0 mm) Dimensione L: ±0.1 mm (da 10.5 a 20.0 mm) |
Dimensione V: 0.3 mm/0.1 mm Dimensione D: 0/-0.2 mm |
TASC | |
| Manicotto in metallo | - Dimensione L selezionabile - Dimensioni V e D selezionabili in base a L |
![]() |
10, 12, 15, 20, 25, 30, 35 mm | Classe standard | Dimensione L: 0/-0.1 mm | Dimensione V: 0.3 mm/0.1 mm Dimensione D: 0/-0.2 mm |
KNCLB, KNCLM, KNCLSS | |
| Manicotto in metallo | - Dimensione L configurabile (in incrementi di 0.1 mm) - Dimensioni V e D selezionabili in base a L |
![]() |
Dimensioni L da 10 a 100 mm in incrementi di 0.1 mm |
Classe standard | Dimensione L: 0/-0.1 mm | Dimensione V: 0.3 mm/0.1 mm Dimensione D: 0/-0.2 mm |
NCLC, NCLB, NCLM, NCLA, NCLSS | |
| Classe di precisione | Dimensione L: ±0.01 mm | Dimensione V: 0.3 mm/0.1 mm Dimensione D: 0/-0.2 mm |
ACSC, ABSC, AMSC, AASC, SASC | |||||
| Manicotto in metallo | - Dimensione L configurabile (in incrementi di 0.1 mm) - Dimensioni V e D selezionabili in base a L |
![]() |
Dimensioni L da 10 a 100 mm in incrementi di 0.1 mm |
Classe standard | Dimensione L: 0/-0.1 mm | Dimensione V: 0.3 mm/0.1 mm Dimensione D: 0/-0.2 mm |
FNCL, FNCLC, FNCLB, FNCLM, FNCLR, FNCLBB, FNCLA, FNCLAB, FNCLSS, FNCLSSR | |
| Classe di precisione | Dimensione L: ±0.01 mm | Dimensione V: 0.3 mm/0.1 mm Dimensione D: 0/-0.2 mm |
FAC, FACS, FABSC, FAMSC, FARSC, FAASC, FSASC, FSASCR | |||||
| Manicotto in metallo - Tolleranza selezionabile Ø interno Ø esterno - Dimensione L configurabile |
- Dimensione L configurabile (in incrementi di 0.1 mm) - Dimensioni V e D configurabili in base a L - Tolleranza selezionabile per D e V |
![]() |
Dimensioni L da 10 a 100 mm in incrementi di 0.1 mm |
Classe standard | Dimensione L: 0/-0.1 mm | Dimensione V selezionabile: H=H7 / N=(0.3/0.1) mm / X=(0.2-0) mm Dimensione D selezionabile: G=g6 mm / H=h7 / N=(-0.1/-0.3) mm / X=(0/-0.2) mm |
SNCC, SNCB, SNCM, SNCS | |
| Classe di precisione | Dimensione L: ±0.01 mm | Dimensione V selezionabile: H=H7 / N=(0.3/0.1) mm / X=(0.2-0) mm Dimensione D selezionabile: G=g6 / H=h7 / N=(-0.1/-0.3) mm/X=(0/-0.2) mm |
SNMC, SNMB, SNMM, SNMS | |||||
| Manicotto in metallo temprato - Dimensione L configurabile |
- Dimensione L configurabile (in incrementi di 0.1 mm) - Dimensioni V e D selezionabili in base a L |
![]() |
Dimensioni L da 10 a 100 mm in incrementi di 0.1 mm |
Classe standard | Dimensione L: 0/-0.1 mm | Dimensione V: 0.3 mm/0.1 mm Dimensione D: 0/-0.2 mm |
NCLCH, NCLBH, NCLMH, NCLSSH | |
| Classe di precisione | Dimensione L: ±0.01 mm | Dimensione V: 0.3 mm/0.1 mm Dimensione D: 0/-0.2 mm |
ASH, ASC, PASC, SASCH | |||||
| Manicotto in metallo temprato - Dimensione L configurabile - Dimensione V configurabile - Dimensione D configurabile |
- Dimensione L configurabile (in incrementi di 0.1 mm) - Dimensioni V e D configurabili in base a L |
![]() |
Dimensioni L da 10 a 100 mm in incrementi di 0.1 mm |
Classe standard | Dimensione L: 0/-0.1 mm | Dimensione V: 0.3 mm/0.1 mm Dimensione D: 0/-0.2 mm |
FNCLCH, FNCLBH, FNCLMH, FNCSK, FNCSKB, FNCSKM, FNCLSH | |
| Classe di precisione | Dimensione L: ±0.01 mm | Dimensione V: 0.3 mm/0.1 mm Dimensione D: 0/-0.2 mm |
FAS, FASC, FPASC, FASK, FASKB, FASKM, FSASCH | |||||
























